Share
Analog Devices, Inc. AD8099ARDN-EBZ
Description
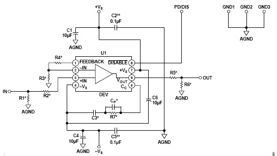
The Analog Devices AD8099ARDN-EBZ is a non-inverting amplifier designed for instrumentation and measurement applications. It features a wide bandwidth of up to 1.5GHz, low noise of 1.5nV/√Hz, and a high slew rate of 1.5V/µs. The amplifier also has a low distortion of -90dBc, making it ideal for precision measurements. It is capable of driving up to 10mA of output current and has a wide supply voltage range of 2.7V to 5.5V. The AD8099ARDN-EBZ is a versatile amplifier that can be used in a variety of instrumentation and measurement applications.


Product
Brand
Articles
Tools


