Microchip MIC23031-GYMT EVMIC23031-GYMT Evaluation Board
Description
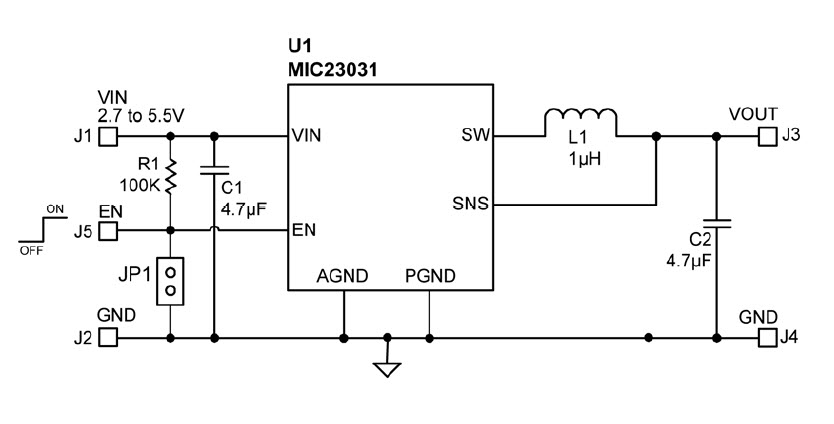
The Microchip Technology MIC23031-GYMT EV is a 1.8V DC to DC single output power supply designed for use in portable and consumer electronics applications. It features a wide input voltage range of 2.7V to 5.5V, and a maximum output current of 1.5A. The device is highly efficient, with a typical efficiency of up to 95%. It also features a low quiescent current of only 10µA, making it ideal for battery-powered applications. The MIC23031-GYMT EV is protected against over-voltage, over-current, and short-circuit conditions, and is RoHS compliant. It is available in a small, thermally enhanced, 8-pin TDFN package, making it ideal for space-constrained applications.


Product
Brand
Articles
Tools








