88E1512 Transceiver: Datasheet, Pinout and Alternative
56 Terminations Receivers 4/4 Drivers/Receivers 1 Functions









56 Terminations Receivers 4/4 Drivers/Receivers 1 Functions
Marvell Alaska 88E1512 Gigabit Ethernet (GbE) transceiver is a physical layer device containing a single Gigabit Ethernet transceiver. This article will unlock more details about 88E1512. There is a huge range of Semiconductors, Capacitors, Resistors and ICs in stock. Welcome RFQ.
88E1512 Pinout

88E1512 Pinout
88E1512 CAD Model
Symbol

88E1512 Symbol
Footprint

88E1512 Footprint
3D Model

88E1512 3D Model
88E1512 Description
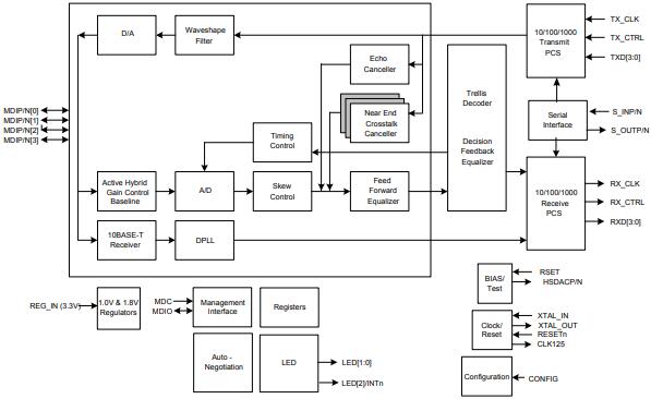
Marvell Alaska 88E1512 Gigabit Ethernet (GbE) transceiver is a physical layer device containing a single Gigabit Ethernet transceiver. The transceiver implements the Ethernet physical layer portion of the 1000BASE-T, 100BASE-TX, and 10BASE-T standards.
GMII (Reduced pin count GMII for direct connection) to Copper/Fiber/SGMII with Auto-Media Detect, RGMII to Copper, RGMII to SGMII/Fiber, and SGMII to Copper are all supported by the device. MDI interface termination resistors are also integrated into the PHY. By minimizing the number of external components, this resistor integration simplifies board layout and lowers board cost. The new Marvell calibrated resistor method will meet or surpass the IEEE 802.3 return loss specifications in terms of precision.c
88E1512 Feature
■10/100/1000BASE-T IEEE 802.3 compliant
■Multiple Operating Modes
RGMII to Copper
SGMII to Copper (88E1512/88E1514 device only)
RGMII to Fiber/SGMII (88E1512 device only)
RGMII to Copper/Fiber/SGMII with Auto-Media Detect (88E1512 device only)
Copper to Fiber (1000BASE-X) (88E1512/88E1514)
■Four RGMII timing modes including integrated delays - This eliminates the need for adding trace delays on the PCB
■Supports 1000BASE-X and 100BASE-FX on the Fiber interface along with SGMII (88E1512 device only)
■Supports LVCMOS /0 Standards on the RGMII Supports Energy Efficient Ethernet (EEE)- IEEE
802.3az-2010 compliant
EEE Buffering
Incorporates EEE buffering for seamless support of legacy MACs
■Ultra-Low Power
■Integrated MDI termination resistors that eliminate passive components
■Integrated Switching Voltage Regulators
■Supports Green Ethernet
Active Power Save Mode
Energy Detect and Energy Detect+ low power modes
■IEEE1588 version 2 Time Stamping
■Synchronous Ethernet (SyncE) Clock Recovery
■Three loopback modes for diagnostics "Downshift" mode for two-pair cable installations
■Fully integrated digital adaptive equalizers, echo cancellers, and crosstalk cancellers
■Advanced digital baseline wander correction
■Automatic MDI/MDIX crossover at all speeds of operation
■Automatic polarity correction
■IEEE 802.3 compliant Auto-Negotiation
■Software programmable LED modes including LED testing
■MDC/XMDIO Management Interface
■CRC checker, packet counter
■Packet generation
■Wake on L AN (WOL) event detection
■Advanced Virtual Cable Tester8 (VCT" )
■Auto-Calibration for MAC Interface outputs
■Temperature Sensor
■Supports single 3.3V supply when using an internal switching regulator
■I/O pads can be supplied with 1.8V, 2.5V, or 3.3V
■Commercial grade, Industrial grade (88E1510 and 88E1512 only)
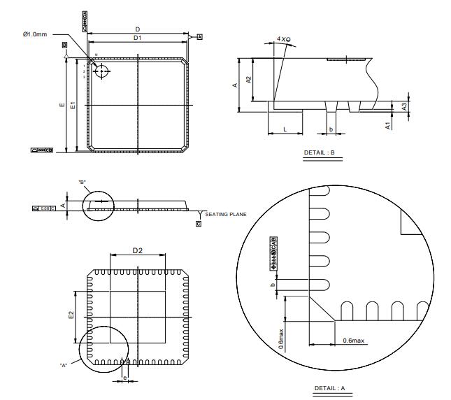
■48-Pin QFN 7 mm x 7 mm Green package with EPAD (88E1510 and 88E1518) and 56-Pin QFN 8mm x 8 mm Green package with EPAD(88E1512/88E1514 device)
88E1512 Application
1.Rapid development and deployment of gigabit standalone
2.Switching systems for the Enterprise, embedded, consumer
3.Metro/service provider market segments
88E1512 Alternative
88E1512-A0--NNP2I000
88E1512-A0-NNP-2I000
88E1512-A0NNP2I000
88E1512A0NNP2I000
88E1512 Block Diagram

88E1512 Block Diagram
88E1512 Package

88E1512 Package
88E1512 Manufacturer
Marvell transfers information fast. This has completely changed today's digital storage industry. Innovation is the decisive factor in our design of storage, network infrastructure and wireless connectivity solutions. We have leading intellectual property rights and extensive system-level knowledge. We are committed to providing excellent semiconductor solutions. Continuously changing the enterprise, cloud, automotive, industrial and consumer markets is our goal.
Datasheet PDF
- Datasheets :
Popularity by Region
Specifications
- TypeParameter
- Factory Lead Time16 Weeks
- Mount
In electronic components, the term "Mount" typically refers to the method or process of physically attaching or fixing a component onto a circuit board or other electronic device. This can involve soldering, adhesive bonding, or other techniques to secure the component in place. The mounting process is crucial for ensuring proper electrical connections and mechanical stability within the electronic system. Different components may have specific mounting requirements based on their size, shape, and function, and manufacturers provide guidelines for proper mounting procedures to ensure optimal performance and reliability of the electronic device.
Surface Mount - Mounting Type
The "Mounting Type" in electronic components refers to the method used to attach or connect a component to a circuit board or other substrate, such as through-hole, surface-mount, or panel mount.
Surface Mount - Package / Case
refers to the protective housing that encases an electronic component, providing mechanical support, electrical connections, and thermal management.
56-VFQFN Exposed Pad - Usage LevelIndustrial grade
- Operating Temperature
The operating temperature is the range of ambient temperature within which a power supply, or any other electrical equipment, operate in. This ranges from a minimum operating temperature, to a peak or maximum operating temperature, outside which, the power supply may fail.
-40°C~85°C TA - Series
In electronic components, the "Series" refers to a group of products that share similar characteristics, designs, or functionalities, often produced by the same manufacturer. These components within a series typically have common specifications but may vary in terms of voltage, power, or packaging to meet different application needs. The series name helps identify and differentiate between various product lines within a manufacturer's catalog.
Alaska® - Published2011
- Part Status
Parts can have many statuses as they progress through the configuration, analysis, review, and approval stages.
Active - Moisture Sensitivity Level (MSL)
Moisture Sensitivity Level (MSL) is a standardized rating that indicates the susceptibility of electronic components, particularly semiconductors, to moisture-induced damage during storage and the soldering process, defining the allowable exposure time to ambient conditions before they require special handling or baking to prevent failures
3 (168 Hours) - Number of Terminations56
- TypeTransceiver
- Voltage - Supply
Voltage - Supply refers to the range of voltage levels that an electronic component or circuit is designed to operate with. It indicates the minimum and maximum supply voltage that can be applied for the device to function properly. Providing supply voltages outside this range can lead to malfunction, damage, or reduced performance. This parameter is critical for ensuring compatibility between different components in a circuit.
1.71V~1.89V 2.38V~2.62V 3.14V~3.46V - Terminal Position
In electronic components, the term "Terminal Position" refers to the physical location of the connection points on the component where external electrical connections can be made. These connection points, known as terminals, are typically used to attach wires, leads, or other components to the main body of the electronic component. The terminal position is important for ensuring proper connectivity and functionality of the component within a circuit. It is often specified in technical datasheets or component specifications to help designers and engineers understand how to properly integrate the component into their circuit designs.
QUAD - Terminal Form
Occurring at or forming the end of a series, succession, or the like; closing; concluding.
NO LEAD - Number of Functions1
- Supply Voltage
Supply voltage refers to the electrical potential difference provided to an electronic component or circuit. It is crucial for the proper operation of devices, as it powers their functions and determines performance characteristics. The supply voltage must be within specified limits to ensure reliability and prevent damage to components. Different electronic devices have specific supply voltage requirements, which can vary widely depending on their design and intended application.
3.3V - JESD-30 Code
JESD-30 Code refers to a standardized descriptive designation system established by JEDEC for semiconductor-device packages. This system provides a systematic method for generating designators that convey essential information about the package's physical characteristics, such as size and shape, which aids in component identification and selection. By using JESD-30 codes, manufacturers and engineers can ensure consistency and clarity in the specification of semiconductor packages across various applications and industries.
S-XQCC-N56 - Number of Channels4
- Interface
In electronic components, the term "Interface" refers to the point at which two different systems, devices, or components connect and interact with each other. It can involve physical connections such as ports, connectors, or cables, as well as communication protocols and standards that facilitate the exchange of data or signals between the connected entities. The interface serves as a bridge that enables seamless communication and interoperability between different parts of a system or between different systems altogether. Designing a reliable and efficient interface is crucial in ensuring proper functionality and performance of electronic components and systems.
Ethernet - Data Rate
Data Rate is defined as the amount of data transmitted during a specified time period over a network. It is the speed at which data is transferred from one device to another or between a peripheral device and the computer. It is generally measured in Mega bits per second(Mbps) or Mega bytes per second(MBps).
10Mbps, 100Mbps, 1Gbps - Protocol
In electronic components, the parameter "Protocol" refers to a set of rules and standards that govern the communication between devices. It defines the format, timing, sequencing, and error checking methods for data exchange between different components or systems. Protocols ensure that devices can understand and interpret data correctly, enabling them to communicate effectively with each other. Common examples of protocols in electronics include USB, Ethernet, SPI, I2C, and Bluetooth, each with its own specifications for data transmission. Understanding and adhering to protocols is essential for ensuring compatibility and reliable communication between electronic devices.
IEEE 802.3, IEEE 1588 - Number of Drivers/Receivers4/4
- Duplex
In the context of electronic components, "Duplex" refers to a type of communication system that allows for bidirectional data flow. It enables two devices to communicate with each other simultaneously, allowing for both sending and receiving of data at the same time. Duplex communication can be further categorized into two types: half-duplex, where data can be transmitted in both directions but not at the same time, and full-duplex, where data can be sent and received simultaneously. This parameter is crucial in networking and telecommunications systems to ensure efficient and effective data transmission between devices.
Full, Half - Number of Transceivers1
- Simplex/Duplex
In electronic components, the parameter "Simplex/Duplex" refers to the type of communication or data transmission mode supported by the component. Simplex communication is a one-way communication mode where data flows only in one direction, from the sender to the receiver. This means that the sender can only transmit data, and the receiver can only receive data. On the other hand, duplex communication is a two-way communication mode where data can flow in both directions, allowing for simultaneous transmission and reception of data between two devices. Understanding whether a component supports simplex or duplex communication is important for determining how data will be exchanged between devices and ensuring compatibility in a given system.
Duplex - Max Junction Temperature (Tj)
Max Junction Temperature (Tj) refers to the maximum allowable temperature at the junction of a semiconductor device, such as a transistor or integrated circuit. It is a critical parameter that influences the performance, reliability, and lifespan of the component. Exceeding this temperature can lead to thermal runaway, breakdown, or permanent damage to the device. Proper thermal management is essential to ensure the junction temperature remains within safe operating limits during device operation.
125°C - Ambient Temperature Range High
This varies from person to person, but it is somewhere between 68 and 77 degrees F on average. The temperature setting that is comfortable for an individual may fluctuate with humidity and outside temperature as well. The temperature of an air conditioned room can also be considered ambient temperature.
85°C - Height1mm
- RoHS Status
RoHS means “Restriction of Certain Hazardous Substances” in the “Hazardous Substances Directive” in electrical and electronic equipment.
RoHS Compliant
How does 88E1512 operate?
It has 5 multiple operating modes: • RGMII to Copper • SGMII to Copper (88E1512/88E1514 device only) • RGMII to Fiber/SGMII (88E1512 device only) • RGMII to Copper/Fiber/SGMII with Auto-Media Detect (88E1512 device only) • Copper to Fiber (1000BASE-X) (88E1512/88E1514)
What is the operating condition of the 88E1512?
The 88E1512 device has an integrated switching voltage regulator to generate all required voltages and can run off a single 3.3V supply; the device supports 1.8V, 2.5V, and 3.3V LVCMOS I/O Standards.
What package is 88E1512 available?
It is available in a 56-pin QFN 8mm x 8mm Green package.
RS-1205S Regulated Converter: Pinout, Features, Circuit26 July 20211411
UC3844 PWM Controller: Uses, Pinout and Datasheet11 August 202112164
ADXL326 Accelerometer: Datasheet, Pinout and Applications19 August 20211974
LR44 Battery: Equivalent, Specifications and Replacements05 November 2021139406
AVX TAJA106K016RNJ Datasheet Guide: Complete Tantalum Capacitor Specs08 September 2025274
PIC12F683 Microcontroller: 8-Bit, Datasheet, Pinout, Block Diagram13 April 20225049
TDA1554 Audio Amplifier: Datasheet, Applications and Circuit27 October 20214162
STP55NF06L Power MOSFET: Pinout, Features, and Datasheet11 September 20212893
Shift Register: Classification and Working Principle26 December 202010037
What is a Tactile Sensor?21 October 20213460
Building a Smart Home System: Exploring Arduino Applications13 March 20242349
Filter Circuit: Types, Characteristics and Principles01 December 20217034
Top 10 Technology Trends in the Global Semiconductor Industry in 202208 January 20228676
Switch-mode Power Supply Basics14 December 20205731
Capacitor Networks Complete Guide: From Basic Calculations to Advanced Applications18 August 20251286
10 Details to Improve the Anti-Interference Ability of MCU29 December 20213666
Marvell Semiconductor, Inc.
In Stock
United States
China
Canada
Japan
Russia
Germany
United Kingdom
Singapore
Italy
Hong Kong(China)
Taiwan(China)
France
Korea
Mexico
Netherlands
Malaysia
Austria
Spain
Switzerland
Poland
Thailand
Vietnam
India
United Arab Emirates
Afghanistan
Åland Islands
Albania
Algeria
American Samoa
Andorra
Angola
Anguilla
Antigua & Barbuda
Argentina
Armenia
Aruba
Australia
Azerbaijan
Bahamas
Bahrain
Bangladesh
Barbados
Belarus
Belgium
Belize
Benin
Bermuda
Bhutan
Bolivia
Bonaire, Sint Eustatius and Saba
Bosnia & Herzegovina
Botswana
Brazil
British Indian Ocean Territory
British Virgin Islands
Brunei
Bulgaria
Burkina Faso
Burundi
Cabo Verde
Cambodia
Cameroon
Cayman Islands
Central African Republic
Chad
Chile
Christmas Island
Cocos (Keeling) Islands
Colombia
Comoros
Congo
Congo (DRC)
Cook Islands
Costa Rica
Côte d’Ivoire
Croatia
Cuba
Curaçao
Cyprus
Czechia
Denmark
Djibouti
Dominica
Dominican Republic
Ecuador
Egypt
El Salvador
Equatorial Guinea
Eritrea
Estonia
Eswatini
Ethiopia
Falkland Islands
Faroe Islands
Fiji
Finland
French Guiana
French Polynesia
Gabon
Gambia
Georgia
Ghana
Gibraltar
Greece
Greenland
Grenada
Guadeloupe
Guam
Guatemala
Guernsey
Guinea
Guinea-Bissau
Guyana
Haiti
Honduras
Hungary
Iceland
Indonesia
Iran
Iraq
Ireland
Isle of Man
Israel
Jamaica
Jersey
Jordan
Kazakhstan
Kenya
Kiribati
Kosovo
Kuwait
Kyrgyzstan
Laos
Latvia
Lebanon
Lesotho
Liberia
Libya
Liechtenstein
Lithuania
Luxembourg
Macao(China)
Madagascar
Malawi
Maldives
Mali
Malta
Marshall Islands
Martinique
Mauritania
Mauritius
Mayotte
Micronesia
Moldova
Monaco
Mongolia
Montenegro
Montserrat
Morocco
Mozambique
Myanmar
Namibia
Nauru
Nepal
New Caledonia
New Zealand
Nicaragua
Niger
Nigeria
Niue
Norfolk Island
North Korea
North Macedonia
Northern Mariana Islands
Norway
Oman
Pakistan
Palau
Palestinian Authority
Panama
Papua New Guinea
Paraguay
Peru
Philippines
Pitcairn Islands
Portugal
Puerto Rico
Qatar
Réunion
Romania
Rwanda
Samoa
San Marino
São Tomé & Príncipe
Saudi Arabia
Senegal
Serbia
Seychelles
Sierra Leone
Sint Maarten
Slovakia
Slovenia
Solomon Islands
Somalia
South Africa
South Sudan
Sri Lanka
St Helena, Ascension, Tristan da Cunha
St. Barthélemy
St. Kitts & Nevis
St. Lucia
St. Martin
St. Pierre & Miquelon
St. Vincent & Grenadines
Sudan
Suriname
Svalbard & Jan Mayen
Sweden
Syria
Tajikistan
Tanzania
Timor-Leste
Togo
Tokelau
Tonga
Trinidad & Tobago
Tunisia
Turkey
Turkmenistan
Turks & Caicos Islands
Tuvalu
U.S. Outlying Islands
U.S. Virgin Islands
Uganda
Ukraine
Uruguay
Uzbekistan
Vanuatu
Vatican City
Venezuela
Wallis & Futuna
Yemen
Zambia
Zimbabwe


