KSZ8081MNXCA 10BASE-T/100BASE-TX Physical Layer Transceiver[FAQ]: Datasheet, Features, and Pinout
KSZ8081 Receivers 1/1 Drivers/Receivers
KSZ8081MNXCA is a single-supply 10BASE-T/100BASE-TX Ethernet physical-layer transceiver for the transmission and reception of data. This article is going to introduce pinout, applications, features, and more details about KSZ8081MNXCA.
Overview of KSZ8081MNXCA
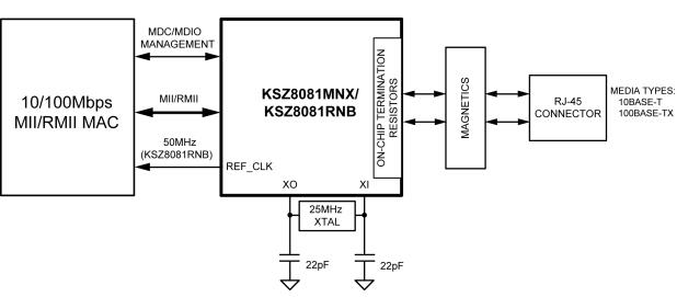
The KSZ8081MNXCA is a single-supply 10BASE-T/100BASE-TX Ethernet physical-layer transceiver for transmission and reception of data over standard CAT-5 unshielded twisted pair (UTP) cable.
The KSZ8081MNXCA is a highly-integrated PHY solution. It reduces board cost and simplifies board layout by using on-chip termination resistors for the differential pairs and by integrating a low-noise regulator to supply the 1.2V core.
The KSZ8081MNXCA offers the Media Independent Interface (MII) and the theKSZ8081MNXCA offers the Reduced Media Independent Interface (RMII) for direct connection with MII/RMII-compliant Ethernet MAC processors and switches. A 25 MHz crystal is used to generate all required clocks, including the 50 MHz RMII reference clock output for the KSZ8081MNXCA.
KSZ8081MNXCA Features
• Back-to-back mode support for a 100 Mbps copper repeater
• MDC/MDIO management interface for PHY register configuration
• Programmable interrupt output
• LED outputs for link, activity, and speed status indication
• On-chip termination resistors for the differential pairs
• Baseline wander correction
• HP Auto MDI/MDI-X to reliably detect and correct straight-through and crossover cable connections with disabling and enabling the option
• Auto-negotiation to automatically select the highest link-up speed (10/100 Mbps) and duplex (half/full)
• Power-down and power-saving modes
• LinkMD TDR-based cable diagnostics to identify faulty copper cabling
• Parametric NAND Tree support for fault detection between chip I/Os and the board
• HBM ESD rating (6 kV)
• Loopback modes for diagnostics
• Single 3.3V power supply with VDD I/O options for 1.8V, 2.5V, or 3.3V
• Built-in 1.2V regulator for core
• Available in 32-pin (5 mm × 5 mm) QFN package
KSZ8081MNXCA Pinout

KSZ8081MNXCA Pinout
KSZ8081MNXCA Block Diagram

KSZ8081MNXCA Block Diagram
KSZ8081MNXCA CAD Model

KSZ8081MNXCA Symbol

KSZ8081MNXCA Footprint
Specifications
- TypeParameter
- Factory Lead Time1 Weeks
- Package / Case
refers to the protective housing that encases an electronic component, providing mechanical support, electrical connections, and thermal management.
32-VFQFN Exposed Pad - Mounting Type
The "Mounting Type" in electronic components refers to the method used to attach or connect a component to a circuit board or other substrate, such as through-hole, surface-mount, or panel mount.
Surface Mount - Mount
In electronic components, the term "Mount" typically refers to the method or process of physically attaching or fixing a component onto a circuit board or other electronic device. This can involve soldering, adhesive bonding, or other techniques to secure the component in place. The mounting process is crucial for ensuring proper electrical connections and mechanical stability within the electronic system. Different components may have specific mounting requirements based on their size, shape, and function, and manufacturers provide guidelines for proper mounting procedures to ensure optimal performance and reliability of the electronic device.
Surface Mount - Supplier Device Package
The parameter "Supplier Device Package" in electronic components refers to the physical packaging or housing of the component as provided by the supplier. It specifies the form factor, dimensions, and layout of the component, which are crucial for compatibility and integration into electronic circuits and systems. The supplier device package information typically includes details such as the package type (e.g., DIP, SOP, QFN), number of pins, pitch, and overall size, allowing engineers and designers to select the appropriate component for their specific application requirements. Understanding the supplier device package is essential for proper component selection, placement, and soldering during the manufacturing process to ensure optimal performance and reliability of the electronic system.
32-QFN (5x5) - Usage LevelAutomotive grade
- Packaging
Semiconductor package is a carrier / shell used to contain and cover one or more semiconductor components or integrated circuits. The material of the shell can be metal, plastic, glass or ceramic.
Tube - Operating Temperature
The operating temperature is the range of ambient temperature within which a power supply, or any other electrical equipment, operate in. This ranges from a minimum operating temperature, to a peak or maximum operating temperature, outside which, the power supply may fail.
0°C~70°C - Part Status
Parts can have many statuses as they progress through the configuration, analysis, review, and approval stages.
Active - Moisture Sensitivity Level (MSL)
Moisture Sensitivity Level (MSL) is a standardized rating that indicates the susceptibility of electronic components, particularly semiconductors, to moisture-induced damage during storage and the soldering process, defining the allowable exposure time to ambient conditions before they require special handling or baking to prevent failures
2A (4 Weeks) - TypeTransceiver
- Max Operating Temperature
The Maximum Operating Temperature is the maximum body temperature at which the thermistor is designed to operate for extended periods of time with acceptable stability of its electrical characteristics.
70°C - Min Operating Temperature
The "Min Operating Temperature" parameter in electronic components refers to the lowest temperature at which the component is designed to operate effectively and reliably. This parameter is crucial for ensuring the proper functioning and longevity of the component, as operating below this temperature may lead to performance issues or even damage. Manufacturers specify the minimum operating temperature to provide guidance to users on the environmental conditions in which the component can safely operate. It is important to adhere to this parameter to prevent malfunctions and ensure the overall reliability of the electronic system.
0°C - Voltage - Supply
Voltage - Supply refers to the range of voltage levels that an electronic component or circuit is designed to operate with. It indicates the minimum and maximum supply voltage that can be applied for the device to function properly. Providing supply voltages outside this range can lead to malfunction, damage, or reduced performance. This parameter is critical for ensuring compatibility between different components in a circuit.
1.8V 2.5V 3.3V - Base Part Number
The "Base Part Number" (BPN) in electronic components serves a similar purpose to the "Base Product Number." It refers to the primary identifier for a component that captures the essential characteristics shared by a group of similar components. The BPN provides a fundamental way to reference a family or series of components without specifying all the variations and specific details.
KSZ8081 - Data Rate
Data Rate is defined as the amount of data transmitted during a specified time period over a network. It is the speed at which data is transferred from one device to another or between a peripheral device and the computer. It is generally measured in Mega bits per second(Mbps) or Mega bytes per second(MBps).
100 Mbps - Protocol
In electronic components, the parameter "Protocol" refers to a set of rules and standards that govern the communication between devices. It defines the format, timing, sequencing, and error checking methods for data exchange between different components or systems. Protocols ensure that devices can understand and interpret data correctly, enabling them to communicate effectively with each other. Common examples of protocols in electronics include USB, Ethernet, SPI, I2C, and Bluetooth, each with its own specifications for data transmission. Understanding and adhering to protocols is essential for ensuring compatibility and reliable communication between electronic devices.
MII - Number of Drivers/Receivers1/1
- Duplex
In the context of electronic components, "Duplex" refers to a type of communication system that allows for bidirectional data flow. It enables two devices to communicate with each other simultaneously, allowing for both sending and receiving of data at the same time. Duplex communication can be further categorized into two types: half-duplex, where data can be transmitted in both directions but not at the same time, and full-duplex, where data can be sent and received simultaneously. This parameter is crucial in networking and telecommunications systems to ensure efficient and effective data transmission between devices.
Full - Simplex/Duplex
In electronic components, the parameter "Simplex/Duplex" refers to the type of communication or data transmission mode supported by the component. Simplex communication is a one-way communication mode where data flows only in one direction, from the sender to the receiver. This means that the sender can only transmit data, and the receiver can only receive data. On the other hand, duplex communication is a two-way communication mode where data can flow in both directions, allowing for simultaneous transmission and reception of data between two devices. Understanding whether a component supports simplex or duplex communication is important for determining how data will be exchanged between devices and ensuring compatibility in a given system.
Full Duplex - RoHS Status
RoHS means “Restriction of Certain Hazardous Substances” in the “Hazardous Substances Directive” in electrical and electronic equipment.
ROHS3 Compliant - Lead Free
Lead Free is a term used to describe electronic components that do not contain lead as part of their composition. Lead is a toxic material that can have harmful effects on human health and the environment, so the electronics industry has been moving towards lead-free components to reduce these risks. Lead-free components are typically made using alternative materials such as silver, copper, and tin. Manufacturers must comply with regulations such as the Restriction of Hazardous Substances (RoHS) directive to ensure that their products are lead-free and environmentally friendly.
Lead Free
KSZ8081MNXCA Applications
• Game console
• IP phone
• IP set-top box
• IP TV
• LOM
• Printer
KSZ8081MNXCA Manufacturer
Microchip Technology Inc. is a leading provider of microcontroller and analog semiconductors, providing low-risk product development, lower total system cost, and faster time to market for thousands of diverse customer applications worldwide. Headquartered in Chandler, Arizona, Microchip offers outstanding technical support along with dependable delivery and quality.
Datasheet PDF
- Datasheets :
- PCN Design/Specification :
- PCN Assembly/Origin :
- PCN Packaging :
- ConflictMineralStatement :
Popularity by Region
How many pins of KSZ8081MNXCA?
32 pins.
What’s the operating temperature of KSZ8081MNXCA?
0°C~70°C.
What’s the packaging way of KSZ8081MNXCA?
Tube.
What’s the Data Rate of KSZ8081MNXCA?
100 Mbps.
MAX31856 Digital Converter: Datasheet, Pinout and Schematic12 August 20215711
MX25R1635FZUIL0 Flash Memory: Features, Pinout, and Datasheet24 February 20222163
MT8870 DTMF Receiver: Pin Description, Price and Datasheet16 August 20213925
LM1085 Positive Regulator: Pinout, Equivalent and Circuit29 September 20215291
AL8805W5-7 LED Driver: Circuit, Pinout, and Datasheet21 January 20222733
The Overview of ULN2804A [FAQ]18 December 20213348
LM35 Sensor: Pinout, Alternatives and Datasheet26 August 202111885
THS4631 Op-Amp : Price, Alternatives, Datasheet26 July 20212427
Texas Semiconductor Summit: A Step Towards Overcoming Chip Shortage14 October 20232471
The Introduction to PCB Inspection Knowledge and Methods22 December 20214224
What is Sequential Logic?15 October 20207378
How does a Photodiode Work?15 August 202021579
Introduction to 6 Common Power Supply Design Circuits09 April 20225824
CCTC Authorized Distributor | UTMEL Electronics22 February 20256945
What is a Schmitt Trigger?09 December 20217098
Introduction to Silicon Controlled Rectifier25 September 20208483
Microchip Technology
In Stock: 335
United States
China
Canada
Japan
Russia
Germany
United Kingdom
Singapore
Italy
Hong Kong(China)
Taiwan(China)
France
Korea
Mexico
Netherlands
Malaysia
Austria
Spain
Switzerland
Poland
Thailand
Vietnam
India
United Arab Emirates
Afghanistan
Åland Islands
Albania
Algeria
American Samoa
Andorra
Angola
Anguilla
Antigua & Barbuda
Argentina
Armenia
Aruba
Australia
Azerbaijan
Bahamas
Bahrain
Bangladesh
Barbados
Belarus
Belgium
Belize
Benin
Bermuda
Bhutan
Bolivia
Bonaire, Sint Eustatius and Saba
Bosnia & Herzegovina
Botswana
Brazil
British Indian Ocean Territory
British Virgin Islands
Brunei
Bulgaria
Burkina Faso
Burundi
Cabo Verde
Cambodia
Cameroon
Cayman Islands
Central African Republic
Chad
Chile
Christmas Island
Cocos (Keeling) Islands
Colombia
Comoros
Congo
Congo (DRC)
Cook Islands
Costa Rica
Côte d’Ivoire
Croatia
Cuba
Curaçao
Cyprus
Czechia
Denmark
Djibouti
Dominica
Dominican Republic
Ecuador
Egypt
El Salvador
Equatorial Guinea
Eritrea
Estonia
Eswatini
Ethiopia
Falkland Islands
Faroe Islands
Fiji
Finland
French Guiana
French Polynesia
Gabon
Gambia
Georgia
Ghana
Gibraltar
Greece
Greenland
Grenada
Guadeloupe
Guam
Guatemala
Guernsey
Guinea
Guinea-Bissau
Guyana
Haiti
Honduras
Hungary
Iceland
Indonesia
Iran
Iraq
Ireland
Isle of Man
Israel
Jamaica
Jersey
Jordan
Kazakhstan
Kenya
Kiribati
Kosovo
Kuwait
Kyrgyzstan
Laos
Latvia
Lebanon
Lesotho
Liberia
Libya
Liechtenstein
Lithuania
Luxembourg
Macao(China)
Madagascar
Malawi
Maldives
Mali
Malta
Marshall Islands
Martinique
Mauritania
Mauritius
Mayotte
Micronesia
Moldova
Monaco
Mongolia
Montenegro
Montserrat
Morocco
Mozambique
Myanmar
Namibia
Nauru
Nepal
New Caledonia
New Zealand
Nicaragua
Niger
Nigeria
Niue
Norfolk Island
North Korea
North Macedonia
Northern Mariana Islands
Norway
Oman
Pakistan
Palau
Palestinian Authority
Panama
Papua New Guinea
Paraguay
Peru
Philippines
Pitcairn Islands
Portugal
Puerto Rico
Qatar
Réunion
Romania
Rwanda
Samoa
San Marino
São Tomé & Príncipe
Saudi Arabia
Senegal
Serbia
Seychelles
Sierra Leone
Sint Maarten
Slovakia
Slovenia
Solomon Islands
Somalia
South Africa
South Sudan
Sri Lanka
St Helena, Ascension, Tristan da Cunha
St. Barthélemy
St. Kitts & Nevis
St. Lucia
St. Martin
St. Pierre & Miquelon
St. Vincent & Grenadines
Sudan
Suriname
Svalbard & Jan Mayen
Sweden
Syria
Tajikistan
Tanzania
Timor-Leste
Togo
Tokelau
Tonga
Trinidad & Tobago
Tunisia
Turkey
Turkmenistan
Turks & Caicos Islands
Tuvalu
U.S. Outlying Islands
U.S. Virgin Islands
Uganda
Ukraine
Uruguay
Uzbekistan
Vanuatu
Vatican City
Venezuela
Wallis & Futuna
Yemen
Zambia
Zimbabwe
















