ATTINY85 8-bit Microcontroller: Architecture, Pinout, and Design Guide
8KB 4K x 16 FLASH AVR 8-Bit Microcontroller AVR® ATtiny Series ATTINY85 8 Pin 4MHz 3V 8-SOIC (0.209, 5.30mm Width)









8KB 4K x 16 FLASH AVR 8-Bit Microcontroller AVR® ATtiny Series ATTINY85 8 Pin 4MHz 3V 8-SOIC (0.209, 5.30mm Width)
Maximize the ATTINY85 in your next design. This engineering guide covers the 8-pin AVR specs, UART workarounds, I/O expansion, and PCB layout best practices.
Product Introduction
Engineer's Takeaway
Positioning: The ATTINY85 dominates the 8-pin microcontroller market by offering a high-performance AVR core in a minimal footprint, bridging the gap between discrete logic and higher-pin-count MCUs like the ATmega328P.
Key Spec Highlight: Delivers 20 MIPS throughput at 20 MHz, providing exceptional processing density for an 8-pin SOIC or PDIP package.
Supply Chain Status: Extremely active. While "stock status" fluctuates, the chip is a staple in both mass production (Microchip) and the maker community (Digispark, Adafruit Trinket), ensuring long-term support and vast library ecosystems.

Figure 1: ATTINY85 overview (8-pin PDIP shown)
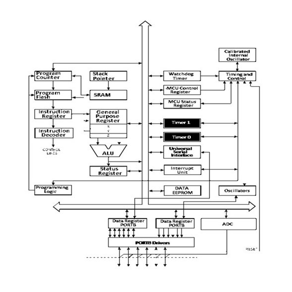
1. Technical Architecture and Core Advantages
The ATTINY85 is a low-power CMOS 8-bit microcontroller based on the AVR® enhanced RISC architecture. By executing powerful instructions in a single clock cycle, it achieves throughputs approaching 1 MIPS per MHz.
1.1 Processing & Control (The "Brain")
CPU Core: 8-bit AVR RISC Architecture.
Frequency: Up to 20 MHz (external clock) or calibrated internal oscillator usage (usually 1MHz or 8MHz default).
Memory Map:
Flash: 8KB In-System Programmable (ISP) memory (High endurance: 10k write/erase cycles).
SRAM: 512 Bytes (Critical constraint for buffer-heavy applications).
EEPROM: 512 Bytes (Ideal for non-volatile parameter storage like sensor calibration data).
Engineering Benefit: The Harvard architecture separates program and data memory, allowing single-cycle execution of most instructions. This makes the ATTINY85 significantly faster clock-for-clock compared to older CISC architectures like the original 8051.
1.2 Peripherals & Interfaces (The "Limbs")
Despite the low pin count, Microchip multiplexes substantial functionality onto the 6 I/O lines:
USI (Universal Serial Interface): A flexible hardware block that can be configured as SPI (Master/Slave) or I2C/TWI (See Pain Points regarding UART).
ADC: 4-channel, 10-bit Analog-to-Digital Converter. Critical for interfacing with sensors without external AFEs.
Timers:
Timer 0: 8-bit with PWM.
Timer 1: 8-bit High-Speed Timer with dedicated PLL (64MHz) for high-frequency PWM (ideal for LED drivers or compact motor control).
Interrupts: External and internal interrupt sources, widely used to wake the chip from deep sleep modes.

Figure 2: Functional block diagram showing AVR Core and Memory Bus
2. Naming / Variant Map and Selection Guide
2.1 Part Number Decoding
Microchip (formerly Atmel) part numbers carry specific package and voltage data.
- ATTINY85-20: Standard voltage (2.7V - 5.5V), 20MHz max.
- ATTINY85V-10: Low voltage (1.8V - 5.5V), 10MHz max.
- PU: PDIP (Plastic Dual Inline Package) – Best for breadboarding and sockets.
- SU: SOIC (Small Outline Integrated Circuit) – Standard SMD.
- MU: QFN/MLF (Quad Flat No-leads) – Ultra-compact 4x4mm for space-constrained PCBs.
2.2 Core Variant Comparison
| Variant | Voltage Range | Max Freq | Package | Target Use |
|---|---|---|---|---|
| ATTINY85-20PU | 2.7V - 5.5V | 20 MHz | 8-PDIP | Prototyping, DIP sockets |
| ATTINY85-20SU | 2.7V - 5.5V | 20 MHz | 8-SOIC | Standard Industry PCB |
| ATTINY85-20MU | 2.7V - 5.5V | 20 MHz | 20-QFN | Wearables, Size-critical |
| ATTINY85V-10PU | 1.8V - 5.5V | 10 MHz | 8-PDIP | Battery (Coin cell) apps |
3. Key Specifications Explained
Engineer's Note: Values below are typical. Always consult the specific datasheet ID
ATtiny25/45/85for absolute maximum ratings to prevent latch-up or silicon damage.
3.1 Power & Operating Conditions
The ATTINY85 acts as a bridge between 3.3V and 5V logic systems. - Operating Voltage: - Standard: 2.7V to 5.5V.
V-Variant: 1.8V to 5.5V.
Current Consumption (Active 1MHz, 1.8V): ~300 µA (Typical).
Power-Down Mode: < 0.1 µA.
implication: Suitable for CR2032 coin-cell applications if sleep modes are aggressively utilized.
3.2 Performance & Efficiency
Throughput: 1 MIPS/MHz.
GPIO Drive Strength: High sink/source capability (typically 20mA per pin), allowing direct driving of LEDs without external transistors (within total package dissipation limits).
Programming Interface: ISP (In-System Programming) via SPI pins or debugWIRE for on-chip debugging using the Reset pin.
4. Design Notes and Common Integration Issues
(This section addresses real-world engineering hurdles specific to the ATTINY85.)
4.1 PCB Layout Guidelines
Power Rails: The internal oscillator is sensitive to noise. Place a 0.1µF (100nF) ceramic capacitor as close as possible to the VCC and GND pins (Pin 8 and Pin 4 on DIP/SOIC).
Grounding: While separate analog/digital ground planes are rare for 8-pin devices, keep high-current switching paths (e.g., MOSFET gate drive returns) away from the ADC input traces.
ISP Header: Provide a standard 2x3 AVR ISP header footprint on the PCB for firmware updates, connecting MISO, MOSI, SCK, RESET, VCC, and GND.

Figure 3: ATTINY85 Pinout and package footprint (PDIP/SOIC)
4.2 Debugging Common Faults (Pain Points)
Problem 1: Limited I/O Pins (Running out of GPIO)- Symptom: You need to drive an LCD, read a sensor, and switch a relay, but only have 5 usable pins (Pin 1 is Reset).
The Fix: Use I/O Expanders (like the PCF8574 via I2C) or Shift Registers (74HC595). This converts 2 or 3 pins into 8+ outputs. Alternatively, disable the Reset pin via fuses to gain a 6th I/O (Caution: This disables ISP programming; High Voltage Serial Programming (HVSP) is required to restore it).
Problem 2: Lack of Hardware UART- Symptom: Communication with PC or GPS modules is unreliable or consumes excessive CPU time. The ATTINY85 does not have a dedicated hardware UART. - The Fix: Use the SoftwareSerial library (firmware bit-banging) or configure the USI hardware to emulate UART. Be aware that SoftwareSerial is blocking and interrupt-heavy.
Problem 3: Memory Overflow (SRAM/Flash)- Symptom: Compilation fails or runtime crashes when using modern libraries (e.g., Neopixel + OLED).
The Fix: Avoid heavy abstractions. Use direct port manipulation (
PORTB |= (1<<PB0)) instead ofdigitalWrite(). Use lightweight libraries like TinyWireM instead of the standard Wire library.
5. Typical Applications
📺 Video Recommendation: ATTINY85 Guide
5.1 System Integration Analysis
The ATTINY85 is frequently deployed in "Smart Glue" Logic applications—tasks too complex for discrete 555 timers but too simple to justify a 32-bit ARM Cortex.
- Intelligent Sensor Nodes: Reading an analog Temp/Hum sensor via ADC, processing the data, and triggering an alarm output.
- High-Speed PWM LED Driver: Utilizing the High-Speed Timer 1 (64MHz PLL) to drive LEDs at frequencies invisible to cameras (flicker-free).
Protocol Translation: Converting a proprietary waveform to standard I2C.

Figure 4: ATTINY85 Typical application circuit: ISP Interface and simple LED/Switch IO.
6. Competitors and Alternatives
When the ATTINY85 stock is constrained or specs don't align, consider these alternatives:
Vs. Microchip PIC12F1840: The PIC12F offers similar 8-pin limitations but includes a genuine Hardware UART (EUSART), solving the primary communication pain point of the ATTINY85.
Vs. STMicroelectronics STM8S003: Often cheaper in high volume, but requires a different toolchain (STVD/SDCC) compared to the AVR-GCC dominance.
Vs. Texas Instruments MSP430: Generally offers lower power consumption for battery-critical tasks but lower 5V tolerance.
Migration Path: For pin-compatible upgrades within the AVR family, there is limited headroom in the 8-pin package. Architects usually jump to the ATtiny84 (14-pin) or ATmega328P (28-pin) if I/O constraints become blocking.
7. FAQ
Q: What is the absolute maximum voltage for ATTINY85? The absolute maximum VCC is 6.0V. Exceeding this, even momentarily, can permanently damage the device. Standard operation should be capped at 5.5V.
Q: Does ATTINY85 support CAN Bus? No, the ATTINY85 does not have a CAN controller. It lacks the pins and memory required for a full CAN stack. Use an external SPI CAN controller (like MCP2515) if necessary, though SPI overhead will be high.
Q: What represents the main difference between ATTINY85-20PU and ATTINY85-20SU? The difference is purely mechanical: PU denotes the Through-Hole PDIP package, while SU denotes the Surface Mount SOIC package. The silicon core is identical.
Q: Can I program the ATTINY85 with Arduino IDE? Yes. By installing the appropriate board manager (e.g., damellis/attiny), you can program the chip using an Arduino Uno as an ISP programmer ("Arduino as ISP") or via a dedicated USBASP programmer.
8. Resources and Downloads
Datasheet: ATtiny25/45/85 Datasheet (PDF)
Dev Tools: Microchip Studio (formerly Atmel Studio), MPLAB X IDE, AVR-GCC.
Specifications
- TypeParameter
- Factory Lead Time7 Weeks
- Contact Plating
Contact plating (finish) provides corrosion protection for base metals and optimizes the mechanical and electrical properties of the contact interfaces.
Tin - Mount
In electronic components, the term "Mount" typically refers to the method or process of physically attaching or fixing a component onto a circuit board or other electronic device. This can involve soldering, adhesive bonding, or other techniques to secure the component in place. The mounting process is crucial for ensuring proper electrical connections and mechanical stability within the electronic system. Different components may have specific mounting requirements based on their size, shape, and function, and manufacturers provide guidelines for proper mounting procedures to ensure optimal performance and reliability of the electronic device.
Surface Mount - Mounting Type
The "Mounting Type" in electronic components refers to the method used to attach or connect a component to a circuit board or other substrate, such as through-hole, surface-mount, or panel mount.
Surface Mount - Package / Case
refers to the protective housing that encases an electronic component, providing mechanical support, electrical connections, and thermal management.
8-SOIC (0.209, 5.30mm Width) - Number of Pins8
- Data ConvertersA/D 4x10b
- Memory TypesFLASH, OTP
- Number of I/Os6
- Watchdog TimersYes
- Operating Temperature
The operating temperature is the range of ambient temperature within which a power supply, or any other electrical equipment, operate in. This ranges from a minimum operating temperature, to a peak or maximum operating temperature, outside which, the power supply may fail.
-40°C~85°C TA - Packaging
Semiconductor package is a carrier / shell used to contain and cover one or more semiconductor components or integrated circuits. The material of the shell can be metal, plastic, glass or ceramic.
Tape & Reel (TR) - Published2011
- Series
In electronic components, the "Series" refers to a group of products that share similar characteristics, designs, or functionalities, often produced by the same manufacturer. These components within a series typically have common specifications but may vary in terms of voltage, power, or packaging to meet different application needs. The series name helps identify and differentiate between various product lines within a manufacturer's catalog.
AVR® ATtiny - JESD-609 Code
The "JESD-609 Code" in electronic components refers to a standardized marking code that indicates the lead-free solder composition and finish of electronic components for compliance with environmental regulations.
e3 - Pbfree Code
The "Pbfree Code" parameter in electronic components refers to the code or marking used to indicate that the component is lead-free. Lead (Pb) is a toxic substance that has been widely used in electronic components for many years, but due to environmental concerns, there has been a shift towards lead-free alternatives. The Pbfree Code helps manufacturers and users easily identify components that do not contain lead, ensuring compliance with regulations and promoting environmentally friendly practices. It is important to pay attention to the Pbfree Code when selecting electronic components to ensure they meet the necessary requirements for lead-free applications.
yes - Part Status
Parts can have many statuses as they progress through the configuration, analysis, review, and approval stages.
Active - Moisture Sensitivity Level (MSL)
Moisture Sensitivity Level (MSL) is a standardized rating that indicates the susceptibility of electronic components, particularly semiconductors, to moisture-induced damage during storage and the soldering process, defining the allowable exposure time to ambient conditions before they require special handling or baking to prevent failures
2 (1 Year) - Number of Terminations8
- Terminal Position
In electronic components, the term "Terminal Position" refers to the physical location of the connection points on the component where external electrical connections can be made. These connection points, known as terminals, are typically used to attach wires, leads, or other components to the main body of the electronic component. The terminal position is important for ensuring proper connectivity and functionality of the component within a circuit. It is often specified in technical datasheets or component specifications to help designers and engineers understand how to properly integrate the component into their circuit designs.
DUAL - Terminal Form
Occurring at or forming the end of a series, succession, or the like; closing; concluding.
GULL WING - Peak Reflow Temperature (Cel)
Peak Reflow Temperature (Cel) is a parameter that specifies the maximum temperature at which an electronic component can be exposed during the reflow soldering process. Reflow soldering is a common method used to attach electronic components to a circuit board. The Peak Reflow Temperature is crucial because it ensures that the component is not damaged or degraded during the soldering process. Exceeding the specified Peak Reflow Temperature can lead to issues such as component failure, reduced performance, or even permanent damage to the component. It is important for manufacturers and assemblers to adhere to the recommended Peak Reflow Temperature to ensure the reliability and functionality of the electronic components.
260 - Supply Voltage
Supply voltage refers to the electrical potential difference provided to an electronic component or circuit. It is crucial for the proper operation of devices, as it powers their functions and determines performance characteristics. The supply voltage must be within specified limits to ensure reliability and prevent damage to components. Different electronic devices have specific supply voltage requirements, which can vary widely depending on their design and intended application.
3V - Frequency
In electronic components, the parameter "Frequency" refers to the rate at which a signal oscillates or cycles within a given period of time. It is typically measured in Hertz (Hz) and represents how many times a signal completes a full cycle in one second. Frequency is a crucial aspect in electronic components as it determines the behavior and performance of various devices such as oscillators, filters, and communication systems. Understanding the frequency characteristics of components is essential for designing and analyzing electronic circuits to ensure proper functionality and compatibility with other components in a system.
4MHz - Time@Peak Reflow Temperature-Max (s)
Time@Peak Reflow Temperature-Max (s) refers to the maximum duration that an electronic component can be exposed to the peak reflow temperature during the soldering process, which is crucial for ensuring reliable solder joint formation without damaging the component.
40 - Base Part Number
The "Base Part Number" (BPN) in electronic components serves a similar purpose to the "Base Product Number." It refers to the primary identifier for a component that captures the essential characteristics shared by a group of similar components. The BPN provides a fundamental way to reference a family or series of components without specifying all the variations and specific details.
ATTINY85 - Qualification Status
An indicator of formal certification of qualifications.
Not Qualified - Supply Voltage-Max (Vsup)
The parameter "Supply Voltage-Max (Vsup)" in electronic components refers to the maximum voltage that can be safely applied to the component without causing damage. It is an important specification to consider when designing or using electronic circuits to ensure the component operates within its safe operating limits. Exceeding the maximum supply voltage can lead to overheating, component failure, or even permanent damage. It is crucial to adhere to the specified maximum supply voltage to ensure the reliable and safe operation of the electronic component.
5.5V - Interface
In electronic components, the term "Interface" refers to the point at which two different systems, devices, or components connect and interact with each other. It can involve physical connections such as ports, connectors, or cables, as well as communication protocols and standards that facilitate the exchange of data or signals between the connected entities. The interface serves as a bridge that enables seamless communication and interoperability between different parts of a system or between different systems altogether. Designing a reliable and efficient interface is crucial in ensuring proper functionality and performance of electronic components and systems.
SPI - Memory Size
The memory capacity is the amount of data a device can store at any given time in its memory.
768B - Oscillator Type
Wien Bridge Oscillator; RC Phase Shift Oscillator; Hartley Oscillator; Voltage Controlled Oscillator; Colpitts Oscillator; Clapp Oscillators; Crystal Oscillators; Armstrong Oscillator.
Internal - Speed
In electronic components, "Speed" typically refers to the rate at which data can be processed or transferred within the component. It is a measure of how quickly the component can perform its functions, such as executing instructions or transmitting signals. Speed is often specified in terms of frequency, such as clock speed in processors or data transfer rate in memory modules. Higher speed components can perform tasks more quickly, leading to improved overall performance in electronic devices. It is an important parameter to consider when designing or selecting electronic components for specific applications.
10 MHz - RAM Size
RAM size refers to the amount of random access memory (RAM) available in an electronic component, such as a computer or smartphone. RAM is a type of volatile memory that stores data and instructions that are actively being used by the device's processor. The RAM size is typically measured in gigabytes (GB) and determines how much data the device can store and access quickly for processing. A larger RAM size allows for smoother multitasking, faster loading times, and better overall performance of the electronic component. It is an important factor to consider when choosing a device, especially for tasks that require a lot of memory, such as gaming, video editing, or running multiple applications simultaneously.
512 x 8 - Voltage - Supply (Vcc/Vdd)
Voltage - Supply (Vcc/Vdd) is a key parameter in electronic components that specifies the voltage level required for the proper operation of the device. It represents the power supply voltage that needs to be provided to the component for it to function correctly. This parameter is crucial as supplying the component with the correct voltage ensures that it operates within its specified limits and performance characteristics. It is typically expressed in volts (V) and is an essential consideration when designing and using electronic circuits to prevent damage and ensure reliable operation.
1.8V~5.5V - uPs/uCs/Peripheral ICs Type
The parameter "uPs/uCs/Peripheral ICs Type" refers to the classification of various integrated circuits used in electronic devices. It encompasses microprocessors (uPs), microcontrollers (uCs), and peripheral integrated circuits that provide additional functionalities. This classification helps in identifying the specific type of chip used for processing tasks, controlling hardware, or interfacing with other components in a system. Understanding this parameter is essential for selecting the appropriate electronic components for a given application.
MICROCONTROLLER, RISC - Core Processor
The term "Core Processor" typically refers to the central processing unit (CPU) of a computer or electronic device. It is the primary component responsible for executing instructions, performing calculations, and managing data within the system. The core processor is often considered the brain of the device, as it controls the overall operation and functionality. It is crucial for determining the speed and performance capabilities of the device, as well as its ability to handle various tasks and applications efficiently. In modern devices, core processors can have multiple cores, allowing for parallel processing and improved multitasking capabilities.
AVR - Peripherals
In the context of electronic components, "Peripherals" refer to devices or components that are connected to a main system or device to enhance its functionality or provide additional features. These peripherals can include input devices such as keyboards, mice, and touchscreens, as well as output devices like monitors, printers, and speakers. Other examples of peripherals include external storage devices, network adapters, and cameras. Essentially, peripherals are external devices that expand the capabilities of a main electronic system or device.
Brown-out Detect/Reset, POR, PWM, WDT - Program Memory Type
Program memory typically refers to flash memory when it is used to hold the program (instructions). Program memory may also refer to a hard drive or solid state drive (SSD). Contrast with data memory.
FLASH - Core Size
Core size in electronic components refers to the physical dimensions of the core material used in devices such as inductors and transformers. The core size directly impacts the performance characteristics of the component, including its inductance, saturation current, and frequency response. A larger core size typically allows for higher power handling capabilities and lower core losses, while a smaller core size may result in a more compact design but with limitations on power handling and efficiency. Designers must carefully select the core size based on the specific requirements of the application to achieve optimal performance and efficiency.
8-Bit - Program Memory Size
Program Memory Size refers to the amount of memory available in an electronic component, such as a microcontroller or microprocessor, that is used to store program instructions. This memory is non-volatile, meaning that the data stored in it is retained even when the power is turned off. The program memory size determines the maximum amount of code that can be stored and executed by the electronic component. It is an important parameter to consider when selecting a component for a specific application, as insufficient program memory size may limit the functionality or performance of the device.
8KB 4K x 16 - Connectivity
In electronic components, "Connectivity" refers to the ability of a component to establish and maintain connections with other components or devices within a circuit. It is a crucial parameter that determines how easily signals can be transmitted between different parts of a circuit. Connectivity can be influenced by factors such as the number of input and output ports, the type of connectors used, and the overall design of the component. Components with good connectivity are essential for ensuring reliable and efficient operation of electronic systems.
USI - Bit Size
In electronic components, "Bit Size" refers to the number of bits that can be processed or stored by a particular component. A bit is the smallest unit of data in computing and can have a value of either 0 or 1. The Bit Size parameter is commonly used to describe the capacity or performance of components such as microprocessors, memory modules, and data buses. A larger Bit Size generally indicates a higher processing capability or storage capacity, allowing for more complex operations and larger amounts of data to be handled efficiently. It is an important specification to consider when selecting electronic components for specific applications that require certain levels of performance and data processing capabilities.
8 - Has ADC
Has ADC refers to the presence of an Analog-to-Digital Converter (ADC) in an electronic component. An ADC is a crucial component in many electronic devices as it converts analog signals, such as voltage or current, into digital data that can be processed by a digital system. Having an ADC allows the electronic component to interface with analog signals and convert them into a format that can be manipulated and analyzed digitally. This parameter is important for applications where analog signals need to be converted into digital form for further processing or control.
YES - DMA Channels
DMA (Direct Memory Access) Channels are a feature found in electronic components such as microcontrollers, microprocessors, and peripheral devices. DMA Channels allow data to be transferred directly between peripherals and memory without involving the CPU, thereby reducing the burden on the CPU and improving overall system performance. Each DMA Channel is typically assigned to a specific peripheral device or memory region, enabling efficient data transfer operations. The number of DMA Channels available in a system determines the concurrent data transfer capabilities and can vary depending on the specific hardware design. Overall, DMA Channels play a crucial role in optimizing data transfer efficiency and system performance in electronic devices.
NO - Data Bus Width
The data bus width in electronic components refers to the number of bits that can be transferred simultaneously between the processor and memory. It determines the amount of data that can be processed and transferred in a single operation. A wider data bus allows for faster data transfer speeds and improved overall performance of the electronic device. Common data bus widths include 8-bit, 16-bit, 32-bit, and 64-bit, with higher numbers indicating a larger capacity for data transfer. The data bus width is an important specification to consider when evaluating the speed and efficiency of a computer system or other electronic device.
8b - PWM Channels
PWM Channels, or Pulse Width Modulation Channels, refer to the number of independent PWM outputs available in an electronic component, such as a microcontroller or a motor driver. PWM is a technique used to generate analog-like signals by varying the duty cycle of a square wave signal. Each PWM channel can control the output of a specific device or component by adjusting the pulse width of the signal. Having multiple PWM channels allows for precise control of multiple devices simultaneously, making it a valuable feature in applications such as motor control, LED dimming, and audio signal generation. The number of PWM channels available in a component determines the flexibility and complexity of the system it can control.
YES - DAC Channels
DAC Channels refer to the number of independent analog output channels available in a digital-to-analog converter (DAC) electronic component. Each channel can convert a digital input signal into an analog output voltage or current. The number of DAC channels determines how many separate analog signals can be generated simultaneously by the DAC. For example, a DAC with two channels can output two different analog signals at the same time, while a DAC with only one channel can only output a single analog signal. The number of DAC channels is an important specification to consider when selecting a DAC for applications requiring multiple analog outputs.
NO - Number of Timers/Counters2
- EEPROM Size
EEPROM Size refers to the amount of memory capacity available in an Electrically Erasable Programmable Read-Only Memory (EEPROM) chip. This parameter indicates the total storage space in bytes or bits that can be used to store data in a non-volatile manner. The EEPROM size determines the maximum amount of information that can be written, read, and erased from the memory chip. It is an important specification to consider when selecting an EEPROM for a particular application, as it directly impacts the amount of data that can be stored and accessed by the electronic component.
512 x 8 - RoHS Status
RoHS means “Restriction of Certain Hazardous Substances” in the “Hazardous Substances Directive” in electrical and electronic equipment.
ROHS3 Compliant
Parts with Similar Specs
- ImagePart NumberManufacturerPackage / CaseNumber of PinsData Bus WidthNumber of I/OInterfaceMemory TypeMemory SizeSupply VoltageView Compare
ATTINY85V-10SUR
8-SOIC (0.209, 5.30mm Width)
8
8 b
6
SPI
FLASH, OTP
768 B
3 V
8-SOIC (0.209, 5.30mm Width)
8
8 b
6
SPI
-
2 kB
3 V
8-SOIC (0.209, 5.30mm Width)
8
8 b
6
SPI
-
2 kB
3 V
8-SOIC (0.209, 5.30mm Width)
8
8 b
6
I2C, SPI, UART, USART
-
2 kB
3 V
Datasheet PDF
- Datasheets :
- PCN Design/Specification :
- PCN Assembly/Origin :
- PCN Packaging :
- ConflictMineralStatement :
How to Use STM32F427VIT6 for Complex Applications24 July 2025477
CD4011 Nand Gate IC: Alternative, Pinout and Datasheet05 August 20218345
Cypress PSoC® 3: CY8C38 Family Datasheet Overview29 February 202497
ADC120 Converter:Datasheet, Application, Pinout07 September 2021583
2N1711 NPN Power Transistor: 2N1711 Transistor Datasheet, Pinout and Equivalents14 December 20215373
Understanding the PIC32MX1XX/2XX Microcontroller: A Technical Overview29 February 2024133
AD9850 DDS Synthesizer: Pinout, Schematic and Datasheet20 July 20214588
STM32L031F6P6 vs STM32L011D4P6 STMicroelectronics Microcontroller10 June 2025606
Revolutionizing the Electric Vehicle Industry with Silicon Carbide10 August 20231865
Power Converter with Inbuilt Charging technology using WBG Devices18 January 20242207
Why are TWS Earbuds so Popular?17 July 20216388
GaN-Based Transistors for High-Frequency DC-DC Converter Applications06 July 20234720
Microchip FPGA Solutions: Aerospace and Industrial Applications09 June 2025618
Understanding RFID Antennas and Their Role in Modern Technology30 June 20252255
Introduction to Types of Oscillator Circuits14 January 202616024
Introduction to MD8002A Audio Amplifier27 March 20258407
Microchip Technology
In Stock: 60
United States
China
Canada
Japan
Russia
Germany
United Kingdom
Singapore
Italy
Hong Kong(China)
Taiwan(China)
France
Korea
Mexico
Netherlands
Malaysia
Austria
Spain
Switzerland
Poland
Thailand
Vietnam
India
United Arab Emirates
Afghanistan
Åland Islands
Albania
Algeria
American Samoa
Andorra
Angola
Anguilla
Antigua & Barbuda
Argentina
Armenia
Aruba
Australia
Azerbaijan
Bahamas
Bahrain
Bangladesh
Barbados
Belarus
Belgium
Belize
Benin
Bermuda
Bhutan
Bolivia
Bonaire, Sint Eustatius and Saba
Bosnia & Herzegovina
Botswana
Brazil
British Indian Ocean Territory
British Virgin Islands
Brunei
Bulgaria
Burkina Faso
Burundi
Cabo Verde
Cambodia
Cameroon
Cayman Islands
Central African Republic
Chad
Chile
Christmas Island
Cocos (Keeling) Islands
Colombia
Comoros
Congo
Congo (DRC)
Cook Islands
Costa Rica
Côte d’Ivoire
Croatia
Cuba
Curaçao
Cyprus
Czechia
Denmark
Djibouti
Dominica
Dominican Republic
Ecuador
Egypt
El Salvador
Equatorial Guinea
Eritrea
Estonia
Eswatini
Ethiopia
Falkland Islands
Faroe Islands
Fiji
Finland
French Guiana
French Polynesia
Gabon
Gambia
Georgia
Ghana
Gibraltar
Greece
Greenland
Grenada
Guadeloupe
Guam
Guatemala
Guernsey
Guinea
Guinea-Bissau
Guyana
Haiti
Honduras
Hungary
Iceland
Indonesia
Iran
Iraq
Ireland
Isle of Man
Israel
Jamaica
Jersey
Jordan
Kazakhstan
Kenya
Kiribati
Kosovo
Kuwait
Kyrgyzstan
Laos
Latvia
Lebanon
Lesotho
Liberia
Libya
Liechtenstein
Lithuania
Luxembourg
Macao(China)
Madagascar
Malawi
Maldives
Mali
Malta
Marshall Islands
Martinique
Mauritania
Mauritius
Mayotte
Micronesia
Moldova
Monaco
Mongolia
Montenegro
Montserrat
Morocco
Mozambique
Myanmar
Namibia
Nauru
Nepal
New Caledonia
New Zealand
Nicaragua
Niger
Nigeria
Niue
Norfolk Island
North Korea
North Macedonia
Northern Mariana Islands
Norway
Oman
Pakistan
Palau
Palestinian Authority
Panama
Papua New Guinea
Paraguay
Peru
Philippines
Pitcairn Islands
Portugal
Puerto Rico
Qatar
Réunion
Romania
Rwanda
Samoa
San Marino
São Tomé & Príncipe
Saudi Arabia
Senegal
Serbia
Seychelles
Sierra Leone
Sint Maarten
Slovakia
Slovenia
Solomon Islands
Somalia
South Africa
South Sudan
Sri Lanka
St Helena, Ascension, Tristan da Cunha
St. Barthélemy
St. Kitts & Nevis
St. Lucia
St. Martin
St. Pierre & Miquelon
St. Vincent & Grenadines
Sudan
Suriname
Svalbard & Jan Mayen
Sweden
Syria
Tajikistan
Tanzania
Timor-Leste
Togo
Tokelau
Tonga
Trinidad & Tobago
Tunisia
Turkey
Turkmenistan
Turks & Caicos Islands
Tuvalu
U.S. Outlying Islands
U.S. Virgin Islands
Uganda
Ukraine
Uruguay
Uzbekistan
Vanuatu
Vatican City
Venezuela
Wallis & Futuna
Yemen
Zambia
Zimbabwe


Product
Brand
Articles
Tools







