IRF3710 N-Channel Power MOSFET: Equivalent, Datasheet, Pinout
IRF3710 is a 57A 100V N-Channel Power MOSFET. This post will cover its equivalent, pinout, datasheet and more details about IRF3710. Welcome your RFQ!

IRF3710
IRF3710 Pinout

IRF3710 Pinout
IRF3710 CAD Model
Symbol

IRF3710 Symbol
Footprint

IRF3710 Footprint
3D Model

IRF3710 3D Model
IRF3710 Description
Advanced processing techniques are used to achieve extraordinarily low on-resistance per silicon area using the IRF3710 57A 100V N-Channel Power MOSFET. This benefit, when paired with the high switching speed and ruggedized device architecture that HEXFET power MOSFETs are known for, gives the designer an exceptionally efficient and dependable device that can be used in a wide range of applications. At power dissipation values of around 50 watts, the TO-220 package is universally recommended for all commercial-industrial applications. The TO-220's low heat resistance and low packaging cost contribute to its widespread use in the industry.
IRF3710 Feature
Advanced Process Technology
Ultra-Low On-Resistance
Dynamic DV/DT Rating
175°C Operating Temperature
Fast Switching
Fully Avalanche Rated
Lead-Free
IRF3710 Application
Switch Mode Power Supplies
Power Factor Correction
Electronic Lamp Ballasts
IRF3710 Equivalent
The equivalent for IRF3710:
IRF044
IRF044SMD
IRF054
IRF054SMD
IRF100B201
IRF3710 Test Circuit
The following figure shows the test circuit of IRF3710:

IRF3710-Peak Diode Recovery DV /DTTest Circuit

IRF3710-For N-channel HEXFET8 power MOSFETs
Specifications
- TypeParameter
Parts with Similar Specs
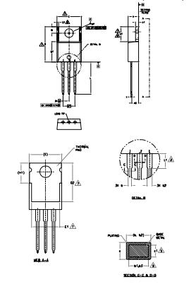
IRF3710 Dimensions
The IRF3710 Dimensions were shown below:

IRF3710 Dimensions
IRF3710 Manufacturer
On April 1st, 1999, Siemens Semiconductors became Infineon Technologies. A dynamic more flexible company geared towards success in the competitive, ever-changing world of microelectronics. Infineon is a leading global designer, manufacturer and supplier of a broad range of semiconductors used in various microelectronic applications. Infineon's product portfolio consists of logic products, including digital, mixed-signal, and analogue integrated circuits, as well as discrete semiconductor products.
Trend Analysis
What is irf3710 and how does it work?
It is a fully avalanche rated device with a gate-source voltage of around 20V. I suggest you read this entire post till the end as I’ll detail the complete Introduction to IRF3710 covering datasheet, pinout, features, and applications. Let’s jump right in. The IRF3710 is an N-channel MOSFET mainly employed for fast switching purposes.
What is irf3710 series RoHS semiconductor?
RoHS IRF3710 Series RoHS SEMICONDUCTORNell High Power products-Channel Power MOSFET (57A, 100Volts)DESCRIPTION The Nell IRF3710 are N-channel enhancement mode Dsilicon gate power field-effect transistors. They are designed, tested and guaranteed to withstand the level of energy in a breakdown avalanche mode of operation.
Where is the gate pin located on an irf3710 MOSFET?
The gate pin is located between the source and the drain pin. The voltage on the gate pin is used to control the channel width. This IRF3710 MOSFET carries low ON resistance, making it a suitable pick for low drop switching applications. The low drop leads to low power loss, hence ensuring greater efficiency.
IRF640 vs IRF640N: Datasheet, Specifications, and FAQ05 November 20248396
DS1090 Clock Generator: Pinout, Equivalent and Datasheet21 February 2022575
ATmega16 Microcontroller: Datasheet, Pinout and Alternatives16 July 20218845
Infineon IRLML2502TRPBF price hacks every buyer should know18 August 2025234
PIC12C5XX Series: 8-Pin 8-Bit CMOS Microcontrollers Overview28 February 2024142
LT3080 Low Dropout Regulator: Datasheet, Alternatives and Applications25 October 20214133
LTM2173HY-14#PBF Analog to Digital Converter: A Comprehensive Technical Overview06 March 2024145
LIS3DHTR accelerometer: Datasheet, Pinout and Features20 July 20212448
Step-by-Step Guide to 2.2 k Ohm Resistor Color Code in 202520 August 20251892
How to Use an External Hard Drive?24 June 20218876
Introduction to Sensors in the Internet of Things24 September 20212184
How Nvidia Became a Chip Industry Giant14 April 2022944
How does an Inverter Work?06 April 20218413
Classification of Current Sensors18 November 20253606
DVI Connector: Types, Advantages, Distiguishment And Development18 November 202013346
Diodes Tutorial: How to Test Diodes?22 October 20259611
In Stock
United States
China
Canada
Japan
Russia
Germany
United Kingdom
Singapore
Italy
Hong Kong(China)
Taiwan(China)
France
Korea
Mexico
Netherlands
Malaysia
Austria
Spain
Switzerland
Poland
Thailand
Vietnam
India
United Arab Emirates
Afghanistan
Åland Islands
Albania
Algeria
American Samoa
Andorra
Angola
Anguilla
Antigua & Barbuda
Argentina
Armenia
Aruba
Australia
Azerbaijan
Bahamas
Bahrain
Bangladesh
Barbados
Belarus
Belgium
Belize
Benin
Bermuda
Bhutan
Bolivia
Bonaire, Sint Eustatius and Saba
Bosnia & Herzegovina
Botswana
Brazil
British Indian Ocean Territory
British Virgin Islands
Brunei
Bulgaria
Burkina Faso
Burundi
Cabo Verde
Cambodia
Cameroon
Cayman Islands
Central African Republic
Chad
Chile
Christmas Island
Cocos (Keeling) Islands
Colombia
Comoros
Congo
Congo (DRC)
Cook Islands
Costa Rica
Côte d’Ivoire
Croatia
Cuba
Curaçao
Cyprus
Czechia
Denmark
Djibouti
Dominica
Dominican Republic
Ecuador
Egypt
El Salvador
Equatorial Guinea
Eritrea
Estonia
Eswatini
Ethiopia
Falkland Islands
Faroe Islands
Fiji
Finland
French Guiana
French Polynesia
Gabon
Gambia
Georgia
Ghana
Gibraltar
Greece
Greenland
Grenada
Guadeloupe
Guam
Guatemala
Guernsey
Guinea
Guinea-Bissau
Guyana
Haiti
Honduras
Hungary
Iceland
Indonesia
Iran
Iraq
Ireland
Isle of Man
Israel
Jamaica
Jersey
Jordan
Kazakhstan
Kenya
Kiribati
Kosovo
Kuwait
Kyrgyzstan
Laos
Latvia
Lebanon
Lesotho
Liberia
Libya
Liechtenstein
Lithuania
Luxembourg
Macao(China)
Madagascar
Malawi
Maldives
Mali
Malta
Marshall Islands
Martinique
Mauritania
Mauritius
Mayotte
Micronesia
Moldova
Monaco
Mongolia
Montenegro
Montserrat
Morocco
Mozambique
Myanmar
Namibia
Nauru
Nepal
New Caledonia
New Zealand
Nicaragua
Niger
Nigeria
Niue
Norfolk Island
North Korea
North Macedonia
Northern Mariana Islands
Norway
Oman
Pakistan
Palau
Palestinian Authority
Panama
Papua New Guinea
Paraguay
Peru
Philippines
Pitcairn Islands
Portugal
Puerto Rico
Qatar
Réunion
Romania
Rwanda
Samoa
San Marino
São Tomé & Príncipe
Saudi Arabia
Senegal
Serbia
Seychelles
Sierra Leone
Sint Maarten
Slovakia
Slovenia
Solomon Islands
Somalia
South Africa
South Sudan
Sri Lanka
St Helena, Ascension, Tristan da Cunha
St. Barthélemy
St. Kitts & Nevis
St. Lucia
St. Martin
St. Pierre & Miquelon
St. Vincent & Grenadines
Sudan
Suriname
Svalbard & Jan Mayen
Sweden
Syria
Tajikistan
Tanzania
Timor-Leste
Togo
Tokelau
Tonga
Trinidad & Tobago
Tunisia
Turkey
Turkmenistan
Turks & Caicos Islands
Tuvalu
U.S. Outlying Islands
U.S. Virgin Islands
Uganda
Ukraine
Uruguay
Uzbekistan
Vanuatu
Vatican City
Venezuela
Wallis & Futuna
Yemen
Zambia
Zimbabwe










